Choose the correct answer:
Which definition applies to COBIT?
Choose the correct answer:
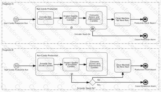
Which statement is true regarding the two diagram fragments?

Choose the correct answer:
What does a notation with clear semantics provide for a model?
Choose the correct answer:
What is straight-through-processing?
Choose the correct answer:
A large energy company is striving to be a process-driven organization and support lean and efficient operations.
Which BMM concept models this description?
Choose the correct answer:
According to the Business Motivation Model (BMM), what are the parts of a Mission statement?
Choose the correct answer:
Which scenario fits this BPMN diagram?

Choose the correct answer:
Which factor directly affects the complexity of a process?
Choose the correct answer:
Which statement correctly states the order of sending and receiving Messages between the Producer and the Consumer?

Choose the correct answer:
Which business function is generally considered a support function?